AppleTheme • Про Эппл
12.4K subscribers
4.94K photos
430 videos
471 files
2.1K links
Пишу про Apple и не только

Техно-новости, инсайды, обновления и полезные функции

Сотрудничество: @nikivnv

Менеджер: @Spiral_Yuri
Перечень РКН — https://clck.ru/3GUaez
Download Telegram
Apple выпустила iOS 12.1 Developer beta 4!
#эксклюзив
Обзор магнитного кабеля Lightning от ANCHOR

Всем известна проблема оригинальных кабелей Lightning, которые идут в комплекте при покупке новых устройств Apple.
Спустя некоторые время, кабель перетирается, облазает и зачастую может перестать работать.
На спасение приходят варианты от других производителей. Сегодня мы рассмотрим магнитный кабель от компании ANCHOR.

Что означает «магнитный»?
Зарядка состоит из двух частей: провода и контактной площадки с мощным магнитом. Вторая все время может находится в устройстве, что исключает необходимость при каждой зарядке вставлять кабель в устройство. Приходя домой вам останется поднести провод поближе к контактной площадке и провод самостоятельно подключится и начнёт зарядку.

Поддерживаются три типа разъемов: Micro USB / Lightning / Type-C. Отдельно стоит отметить классный дизайн.

До конца октября по промокоду apple_theme можно получить скидку 10%.

Заказать: anchorcable.ru
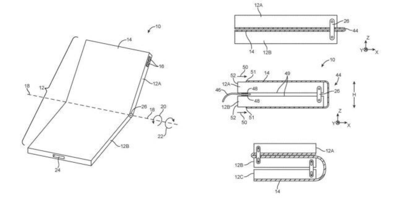
​​Apple запатентовала смартфон с гибким экраном

Стоит отметить, что пока Apple только патентует гибкий смартфон, но Samsung, Huawei, Xiaomi и Oppo уже в 2019 году намерены представить серийные версии смартфонов с гибким экраном.
Скорее всего компания Apple не спешит выпускать гибкий смартфон. Она по мнению специалистов будет наблюдать за другими, а точнее за тем насколько успешны на рынке будут устройства с гибкими экранами.
Если у людей действительно будет большой интерес к подобным смартфонам, тогда Apple выпустить свое решение.
​​Apple проведёт презентацию 30 октября

Apple разослала приглашения на ещё одну презентацию, которая состоится уже в конце месяца, 30 октября. Пройдёт ивент не на территории кампуса компании, а в оперном театре Бруклина, Нью-Йорк.

На приглашении изображён логотип компании, выполненный мазками кисточек. Надпись гласит — «There's more in the making», что можно перевести как «В создании есть нечто большее».
​​В России стартовали предзаказы новых iPhone X🅁

На официальном сайте Apple открылся прием предварительных заказов на iPhone XR — одну из трех моделей новых смартфонов, презентация которых прошла 12 сентября.
"Упрощенная" модель, оснащаемая 6,1-дюймовым ЖК-экраном и одинарной камерой, стоит примерно на на 20–30 тысяч рублей дешевле iPhone XS.
​​Что Apple может показать на презентации 30 октября?

Безрамочный iPad Pro
Кроме напоминания об iPhone Xr мы очень ждем пару iPad Pro в новом дизайне: 11- и 12,9-дюймовую модели. Их упоминание даже есть в тестовых iOS 12.1.
На фоне более старых планшетов эти будут выделяться минимальными рамками вокруг экрана, уменьшенными габаритами, а также сенсором лиц Face ID и отсутствием кнопки «Домой».
Мы надеемся, что выреза под True Depth в новых iPad Pro все-таки не будет, а вот прокачанный A12x Bionic, который сделает планшеты самыми мощными мобильными устройствами на рынке, им точно не навредит.
Интересным ходом Apple может оказаться переход на USB-C в iPad Pro. Быть может, так компания опробует этот разъем в мобильных устройствах для дальнейшего использования в iPhone.

Обновленные Mac
▪️MacBook Air. Это устройство должно стать облегченной в плане технических характеристик версией актуальных MacBook и MacBook Pro. При цене до $1000 оно точно выстрелит.
▪️Mac mini. Самый дешевый компьютер Apple не обновлялся с 2014 года. Если мы его все-таки увидим, тут же побежим за ним в любой из магазинов.
▪️iMac. В этом году моноблокам Apple уже исполнилось 20 лет. ▪️Конечно, мы ждем масштабное обновление этих компьютеров уже в октябре, но мы все-таки сомневаемся, что увидим нечто подобное до 2019.

Обновления софта
▪️Групповые звонки FaceTime. В них смогут принять участие до 32 пользователей.
Релиз возможности был запланирован на iOS 12, но по техническим причинам его отложили до iOS 12.1, которую было бы логично разложить по полочкам на презентации.
▪️Электрокардиограмма. Она появится в новых Apple Watch Series 4 с выходом watchOS 5.1. Жаль, что ЭКГ будет актуально пока только в США.
▪️Живой контроль глубины резкости. Сейчас на новых iPhone этим можно управлять только постфактум, с выходом финальной iOS 12.1 она перенесется в Live.

AirPower
Мы даже не надеемся увидеть AirPower уже в октябре этого года. У Apple серьезные проблемы с производством устройства для одновременной беспроводной зарядки трех девайсов по стандарту Qi. Поэтому компания даже удалила его с официального сайта.
​​iPhone XR не умеет снимать настоящие фото с размытием фона

Предзаказ на iPhone XR открылся всего несколько дней назад. Блогеры уже получили новые смартфоны и нашли их неприятную особенность.
Несмотря на то, что iPhone XR позиционируется как более доступный айфон, Apple постаралась интегрировать по максимуму фишек, которые доступны и во флагманских iPhone XS и XS Max. Но вот с портретным режимом девайса складывается несколько иная картина.
В iPhone XR есть портретный режим, но пользоваться им можно только для создания портретов людей. Увы, сфотографировать какой-либо предмет с красивым боке не выйдет.
Все из-за того, что у iPhone XR нет второй основной камеры, которая и позволяет получать фотографии с потрясающей глубиной резкости. Хотите портрет — нет проблем, сфотографировать что-то другое с аналогичным эффектом, увы, не выйдет.
Выходит, что Apple предусмотрела портретный режим исключительно для лиц.
Вспоминая Pixel 2 и Pixel 3, у которых также одинарный модуль основной камеры, стоит отметить, что у смартфонов Google весьма продуманный сенсор, учитывающий глубину резкости. У iPhone XR, видимо, сенсор значительно попроще.
​​#полезное_macOS
Новый режим скриншотов в macOS Mojave

Обычно в рубрике #полезное мы рассказывали о скрытых фишках iOS, но сегодня речь пойдет о macOS Mojave.

Если в macOS Mojave вместо привычных горячих клавиш для скриншотов нажать комбинацию Command + Shift + 5, то откроется обновлённая утилита «Снимок экрана». Помимо прочего, в ней есть новый режим захвата видео, позволяющий записывать скринкасты. Теперь это можно делать без помощи стороннего ПО.

Больше полезных функций macOS вы можете узнать в курсе Александра Сенина, который подойдет как начинающим пользователям Mac, так и тем кто уже какое-то время работает на Mac.
Задача курса раскрыть возможности вашего компьютера от Apple, оптимизировать вашу работу, показать очень удобные (но не всегда очевидные) фишки которые может ваш Mac и которые сильно упрощают работу за ним.

Ознакомиться с курсом «Основы работы на MacBook»: https://goo.gl/LzTTJE